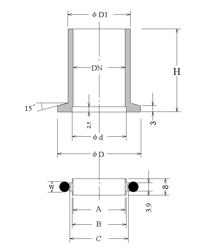
|
---DN--- |
-(10KF)- |
--16KF-- |
-(20KF)- |
--25KF-- |
-(32KF)- |
--40KF-- |
--50KF-- |
|
ÓD1 |
15 |
20 |
25 |
30 |
38 |
45 |
56 |
|
ÓDN |
10 |
16 |
20 |
25 |
32 |
40 |
50 |
|
Ód |
12.2 |
17.2 |
22.2 |
26.2 |
34.2 |
41.2 |
52.2 |
|
ÓD |
30 |
30 |
40 |
40 |
55 |
55 |
75 |
|
H(S) |
16 |
16 |
20 |
20 |
20 |
20 |
20 |
|
H(L) |
40 |
40 |
40 |
40 |
40 |
40 |
40 |
|
A |
10.2 |
16 |
20.2 |
25 |
32.2 |
40 |
50.2 |
|
B |
12 |
17 |
22 |
26 |
34 |
41 |
52 |
|
C |
15.3 |
18.5 |
- |
28.5 |
- |
42.5 |
55.5 |
|
W |
15X5 |
18X5 |
- |
28X5 |
- |
42X5 |
55X5 |
